Need assistance finding the right part?
(03) 548 9014
• Expert support available
Need assistance finding the right part?
(03) 548 9014
• Expert support available
or four payments of $29.03
with
Learn More
This coupling can be fitted to both 1 7/8” and 50mm towballs by simply lifting and rotating the handle. Available with multifit mounting plate. Cast in steel with an electro zinc plated finish. An anti-rattle screw is fitted and there is provision for fitting a security padlock. When used in the 50mm mode these couplings comply with NZ Standard 5232-1993
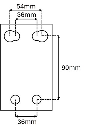
Below is the measurement between the bolt hole centres. The bolt holes are to suit 10mm bolts. Fitment should be by way of 4x high tensile bolts. NZs most commonly used coupling.

View your shopping basket or Browse other items in Non Braked Couplings.

Youngs Automotive has been a vital part of the automotive parts supply chain in the top of the south and West Coast for over 35 years.
We have four dedicated specialist salesmen with many years of experience in the automotive parts supply business.
We are a superior wholesaler/retailer supplying automotive, commercial and marine parts specializing in electrical components and accessories.
|
© Copyright YOUNGS AUTOMOTIVE LTD - Site Map Phone: 03 5489014 Nelson New Zealand |
Need assistance finding the right part?
(03) 548 9014
• Expert support available


